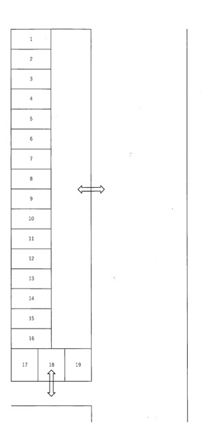
わたや第1駐車場
賃料
1.1万円
外観
区画図